Keramiskais aizdedzinātājs (VENMA, EasyROT, KIPI, PellasX u.c.)
#700002
€60.00
Īpašības:
- Svars: 0.1 kg
Apraksts:
Keramiskais aizdedzinātājs derīgs VENMA, EasyRot, KIPI, PellasX un citiem granulu degļiem.
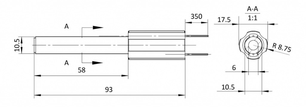
Izmēri:

